我们在完成一个项目或是活动时,要想形成一个完整的闭环,需要进行复盘;复盘在我们工作中是非常重要也很容易被忽视的一项,但是复盘带来的好处很多,可以帮助你进步,避免下次出现同类错误;本文是作者分析的关于复盘与成长思维,我们一起来看一下。

一、为什么要复盘?(Why)
斯坦福心理学教授Carol S. Dweck在2016年发表了关于“成长思维”(Growth Mindset)的研究。


《Growth mindset tempers the effects of poverty on academic achievement》
这看起来是一个老生常谈的问题,「成长思维」试图告诉我们:
- 你的能力永远不是静止的,而是不断成长的;
- 失败并不是否定你的能力,而是告诉你“你可以做得更好”;
- 无论面对多么困难的挑战,只要抱着“我可以从中学到什么”的心态,都可以令你鼓起勇气。
如何落地践行成长思维呢?一个非常重要的能力,就是复盘。
基于我过去所属团队的项目管理/事项管理实践总结,按照PDCA的理论(Plan、Do、Check、Action/Adjust);当时团队的Plan和Do可以说做到了及格的水平,但Check和Action/Adjust的部分仍然是缺失的;导致做事虽然非常辛苦,却在很多时候没有解决根本的问题;而Work Smart作为职场的核心能力,想要将其内化为个人的基本属性,需要一定的时间和实践。
为了达到这个目标,希望未来能通过「复盘」的方法,让整个团队持续提升解决问题的能力。
二、什么是复盘?(What)
(注:本段主要引用了公众号「L先生说」的文章《讲透“复盘》。)
复盘本是围棋术语,也称为复局,是指对弈者下完一盘棋之后,重新在棋盘上把对弈过程摆一遍;看看哪些地方下得好与不好,哪些地方有更好的下法等(低配版的机器学习)。
有意识地从自身过去的行为经验进行学习——复盘,这是最简便、性价比最高的学习途径,却也是最容易被我们忽略的。
在敏捷软件开发实践中, 每个Sprint有一个会议叫做回顾总结会,主要议题是:在过去这个Sprint里,我们哪些做的比较好的,哪些是需要提高的,下个Sprint要采取哪些行动措施。
这个回顾总结的本质就是复盘,让团队从过去学习,以提升团队未来的交付能力。
我们在每个Sprint中都会通过完成工作包来交付成果,这些成果将对业务产生影响(也就是“运营”的结果)。
但是这些影响与我们当初设定的目标多多少少有些偏差,复盘就是为总结好的经验、找到不足的地方、总结有价值的规律,以便我们在未来的Sprint中取得更好的成绩。
基于PDCA循环来看:
1. 关注「行动」
大多数人做事情,着眼于P和D。也就是:先考虑我要做什么,然后去行动。
他们关注的是「行动」,也就是“我做了哪些事情”。
目前互联网行业盲目的赶进度、加班文化,也一定程度被这种思维限制了,演变为「行动大比拼」。
2. 关注「结果」
思考全面一些的人,着眼于整个PDCA循环。
也就是,在行动之后,会去思考:
- 我有没有达成我想要的结果?
- 如果没有,是什么地方产生了阻碍?
- 我如何能够克服它们、调整计划。
此时关注的重点转移到「结果」上,也就是“我做得够不够好”?
3. 关注「成长」
「成长思维」来源于对PDCA的「监测循环」,即从第三方的视角审视自己的PDCA整个过程,把自己的所思所想所做记录下来,并加以审视,从中找出自己能够成长的空间和可能性。
- 我的目标设计是否合理?(优化Plan)
- 我的项目排期、风险管理、业务方案设计是否还有提升的空间?(优化Do)
- 我对项目的复盘、反思、逆向思考还有什么可提升的空间?(优化Check)
- 对PDCA中应用的方法论做迭代。(敏捷Adjust)
此时关注的重点转移到「成长」上,也就是“我可以如何变得更好”。
「成长型思维」将有助于摆脱“我是最辛苦的、我是职场上最大的不公允受害者”等过度自我的想法;始终专注在个人成长的机会点与选择博弈上,更有利于在有限的时间资源下提升劳动力的生产效率、质量(在创业之前,始终认识到自己只是「劳动力」,是一种能够处理好自我与企业关系的好方法)。

三、复盘的流程(How)
1. 前置准备:信息的搜集与记录

任何的「输出、迭代、成长」都需要基于一定量的「输入」,而好的复盘应重视项目过程的信息记录,这种记录不应该是应付老板的日报流水账,而是抓取「有效信息」。
例如:
周一,跟业务部门开了一场运营方案制定会,我们可以尝试记录下几个点:
- 哪些联运想法令我耳目一新?记下来,以后也许可以借鉴。
- 除了我发言的内容,还有什么是我想到但没有提出来的?记下来,也许能用到。
- 大家提出的困难和困惑是什么?是否能从中总结出一些模式?
- 我的建议和结论为什么受到很大的阻力?这些阻力的根因是什么,怎么突破?
- ……诸如此类。
时刻切换自己的身份:一个是参会者的视角,一个是第三方的视角,用后者来观察前者,记录下前者的感受、想法、判断和收获。
虽然这样记录是非常累的,但输入却是真实有效的→「信息快照(快速地搜集)→整理(尝试去思考)→提炼(有价值的整理)」。
记录不用在乎形式、格式,第一时间把这些信息记录下来,再留待有空的时候,好好去加工和处理。
2. 「监测循环」的原则
要做到客观监测自己,其实是非常不容易的,这是一个「自省」能力的培养过程。
有限的人生经历、社交圈层都决定了我们容易处于「不知道自己不知道」的阶段;要跨越这个阶段,只有依靠「不断的自省」与「通过成长去获取更多的经历、接触更多的人」来实现。

而想要实现「自省」,则「复盘」的过程应遵循一些基本的原则:
- 实事求是—— 不浮夸、不隐瞒;业务数据的解读有千万种方式,如何从目标上抛开「证明我是对的」,去专注于「这到底有没有用」,是一件基本又有点难做到的事情。
- 聚焦反思—— 不抱怨、不推诿;作为项目的一员,把更多的时间花在研究自己的问题而不是放大别人的问题,也是一件基本又有点难做到的事情。
- 有话直说—— 坦诚清晰,不有所保留;尝试当面说清楚问题而不是相互宣泄情绪。
- 集思广益—— 不排斥不同想法,尽可能多地吸收不同的思维模式、方法、观点;其实有不少「有所成就的人」会主动关闭其他人的信息输入通道,活在信息茧房之中,他们试图在所有场合都证明自己最强、最聪明的,这损害了其持续成长的能力。
3. 复盘的流程

1)回顾目标&结果对比
回顾项目的目标与设计逻辑,复盘目标设定的合理性:
- 当初行动的目的和意图是什么?
- 事件或行动想要达到的目标是什么?
- 预先制定的计划是什么?
- 事先设想要发生事情是什么?
复盘目标设定的合理性:
- 这件事情的意义和价值有多大?
- 它跟我的短期目标和长期目标重合度有多高?
- 未来,我是否要调整在它上面投入的时间和精力?
基于目标做完备的结果对比:
① 目标完成度对比:完成所设目标、超过预期目标、达不到预期目标、在过程中添加了新目标。

② 利用业务漏斗评估「存在差距/表现优异」的原因,从数据结果找到具体的执行层问题。

图:《滴滴数据仓库指标体系建设实践-指标分级方法》
2)叙述过程&全面剖析
让所有相关方了解项目执行的过程,对全面剖析的事实基础达成一致:
- 例1:9月5日,先跟产研沟通了XXX红包活动的需求,但产研为了支持ZZZ项目,目前“资源紧张”,预期上线时间无法满足。
- 例2:9月11日,财务Q3临时被增加任务,将预算支出控制在YYY元内,导致原先确定的活动预算需要减少1/2。
提供项目的综合分析,包括数据与反思:
- 展示各环节的数据表现,包括:业务漏斗、用户分群、ROI分析等等。
- 反思项目的哪些步骤可以整合、省略、调整,更好地满足我的需求?
- 反思项目的哪些环节还可以再提高效率?(沟通/流程规范/灰度策略/…)
- 反思哪些步骤点做得不够好,搞清楚是因为自己掌控的部分出了问题,还是别的部分出了问题,是否存在优化的可能性?
3)众人设问&复盘归档:
通过相关方提问、质询、信息补充,突破个人的认知局限,提升复盘的结论可靠性:
- 例1:有考虑过红包活动之外的运营方案吗?
- 例2:为什么只放了补贴/没补贴用户的差异,而没有放补贴前后用户的行为差异?
- 例3:AB测试的样本随机逻辑用的哪种算法?怎么避免取样的偏好过大导致的策略扩大后无明显效果的问题?
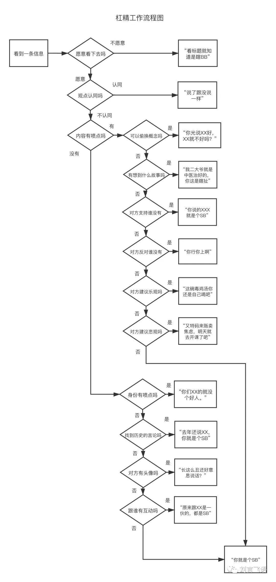
试着抛出一个好的问题,避免杠精式提问:
- 5W2H法(why、what、who、when、where、how、how much),不停地追问。
- 使用疑问句而不是反问句。
- 通过问题来引导逻辑论证。
- 避免杠精式提问。

图:引用刘飞老师的《杠精工作流程图》
复盘后得出具有较高可信度的结论, 将作为组织过程资产被记录下来(Confluence),方便传播和查阅。
四、什么时候复盘?谁要参加?(When/Who)
复盘发起者:PMO/项目负责人/Team Leader,根据业务需要来设定。
复盘周期:定期的业务复盘(OKR周期/月度/…)、项目复盘(根据实际情况开展)。
复盘参与者:PMO、项目相关方(技术/产品/运营/销管/职能)、其他可参与的相关方。
